2026年北京首批宅地挂牌 3宗地块2月集中出让
搜狐焦点青岛 2026-01-13 08:47:00
2025年12月31日,北京市规划和自然资源委员会挂出2026年首批宅地预申请及挂牌信息。其中3宗此前处于预申请状态的住宅用地正式转入挂牌阶段,分别位于顺义、石景山、通州,集中出让时间均为2026年2月3日,三宗地块的集中入市将为新年北京土地市场拉开序幕。
1、 北京市顺义区新国展三期SY00-2301-0003、0004、0005地块二类城镇住宅用地、商业用地。
该地块位于顺义区后沙峪镇,总用地规模约5.97公顷,规划地上建筑面积约12.86万平方米,起拍总价28.1亿元。其中,0003、0004为住宅地块,起始价24.73亿元,0005为商业地块,起始价为3.37亿元。
两宗住宅地块合计地上建筑规模82418.14平方米,容积率2.0,建筑高度≤36米,绿地率和建筑密度均为30%。商业地块用地面积18462.03平方米,地上建筑面积46155.07平方米,容积率2.5,建筑高度≤36米,绿地率25%,建筑密度50%。

配套方面:地块地处顺义后沙峪核心版块,周边聚集祥云小镇、新国展、山姆会员店、鼎石学校配套资源,地铁15号线直线距离800多米,京密路交通便捷。

2、石景山区1609街区新首钢核心区SS00-1609-0012地块R2二类居住用地,该地块位于石景山区古城街道,起拍价13.9亿元,起拍楼面价约3.8万元/平方米。地块用地面积16626.58平方米,规划地上建筑面积约36578平方米,容积率约2.2,建筑高度≤45米,绿地率30%。

地块坐落于新首钢园区内,紧邻地铁11号线新首钢站D口,周边覆盖喜隆多、京西大悦城、北京冬奥公园、首钢园等优质资源。

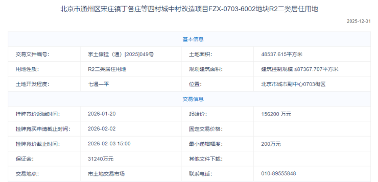
3、通州区宋庄镇丁各庄等四村城中村改造项目FZX-0703-6002地块R2二类居住用地,该地块位于通州区宋庄镇,起拍价15.62亿元,折合起拍楼面价约1.79万元/平方米。项目用地面积48537.615平方米,规划地上建筑规模87367.707平方米,容积率1.8,建筑高度≤36米(局部≤45米)。
周边配套拥有十一学校通州实验学校、安贞医院通州园区,医疗与人文资源充足。
